如果你買一臺二手iPhone,除了關注它是不是無拆無修,全原裝的之外,應該還會關注另外一個重要指標,那就是電池健康度。
如果低于80%,你或許會猶豫很久,甚至最終不買他。因為低于80%,意味著電池容量縮小了20%以上,同時因為電池容易縮水太多,蘋果會對CPU進行降頻等……
于是一些二手商,在拿到健康度低于80%的手機時,一般會進行換電池/移植電芯等操作,讓電池恢復至較好的狀態,這樣才能更好出售手機。
那么為何電池用久了,電池健康度會下滑呢,原因就是電池的使用過程,其實就是一個充放電過程,不斷的充放電后,一部分的“活躍鋰離子”就會不再活躍了,于是健康度就降低,當不活躍的鋰離子達到了20%以上時,健康度就低于80%了。
那么如何讓健康下降慢一點,最近蘋果曝光了一個專利,專門針對的就是這個健康度的問題。
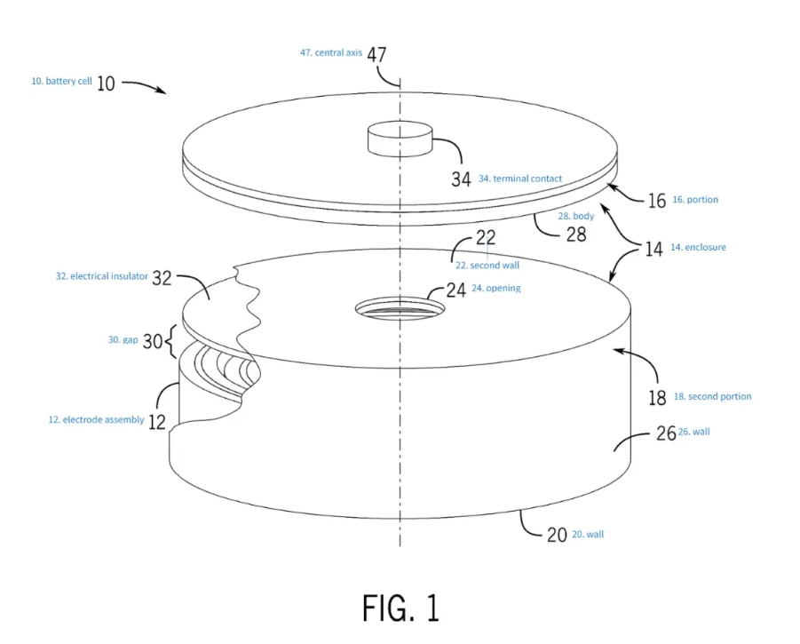
蘋果的核心思想是“預存鋰”,就是在電池出廠時,就提前給它“加料”,多準備一些活躍的,用于消耗的鋰,做成類似于紐扣電池的模式,放到電池內部做準備。
這樣當電池不斷的放充電時,就可以讓這些預存的鋰進行消耗,從而不影響在電池里面負責循環工作的鋰了,這樣電池的損耗就會變小變慢,健康度當然就能夠保證了。
按照專業人士的分析,如果預存合理,甚至蘋果可以讓健康度在很長一段時間內,都高于80%,從而不影響手機的性能。
